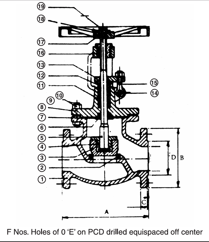
Globe Valves
Globe valves are one of the most reliable and widely used valve types for throttling and regulating flow in pipelines. Their design is fundamentally different from gate or ball valves, which are primarily intended for isolation (fully open or fully closed service). In a globe valve, the disc moves perpendicular to the flow, which creates a gradual change in flow area as the valve opens or closes. This makes them ideal anywhere precise control, stable operation, or controlled pressure drop is needed.
Globe valves are especially suited for systems where flow rate must be adjusted frequently, where sudden surges could damage downstream equipment, or where tight shut-off is required even after repeated operation. They offer better flow control accuracy than most other valve types, which is why they are commonly found in control stations, dosing lines, and recirculation systems.
At Exceed, we design our globe valves to maximize these inherent strengths. Every valve is built with precision-machined internals for smooth throttling, high-integrity sealing surfaces for reliable shut-off, and rugged construction to withstand demanding operating conditions. This ensures our valves deliver long-term, consistent performance while reducing the total cost of ownership for your plant.
Technical Data:
Manufacturing Std.: BS 1873
Testing & Inspection Std.: API 598
Face to Face: As per ASME B16.10
End Connections: Flanged as per ASME B16.5
Engineering Options:
- Available on request with gearbox, electric actuator or pneumatic actuator
- Special materials available on request
- Remote operations on request
