Gate Valves
Gate valves are primarily designed for on/off service, providing a straight-through flow path with minimal resistance when fully open. Unlike globe valves, which are ideal for throttling, gate valves are best suited for applications where a full flow or complete isolation is required.
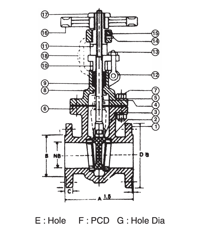
The key feature of a gate valve is its wedge-shaped disc (gate), which moves linearly along the flow path to either block or allow fluid. This design ensures low pressure drop and high flow efficiency when the valve is fully open. Gate valves are widely used in pipelines carrying liquid, gas, or slurry, where long-term durability and reliable isolation are critical.
At Exceed, our gate valves are engineered with robust materials, precision-machined components, and high-integrity seating surfaces, ensuring smooth operation, tight shut-off, and long service life even under demanding operating conditions. Our valves feature flexible wedge designs, which provide improved sealing performance and better adaptability to temperature changes.
